黃銅自動(dong)單向排氣閥
産(chǎn)品型号:B725X-16T
公稱壓(ya)力:1.6MPa
工作溫度(du):-10℃≤t≤100℃
管螺紋标準:符(fú)合ISO228标準
産(chǎn)品型号:B725X-16T
公稱壓(ya)力:1.6MPa
工作溫度(du):-10℃≤t≤100℃
管螺紋标準:符(fú)合ISO228标準
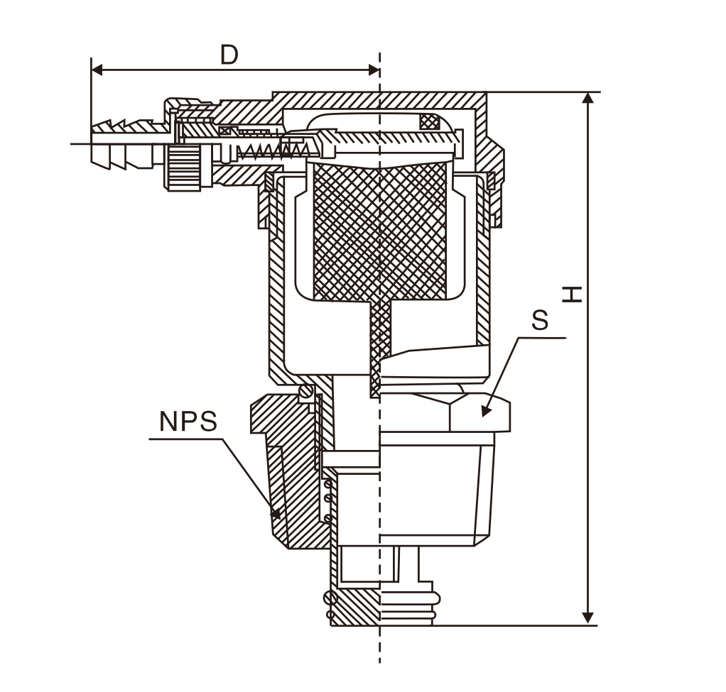
主要外(wai)形尺寸
|
DN(mm) |
H |
D |
G |
SW | |
|
15 |
76 |
47.5 |
22 | ||
|
3/4 |
78 |
47.5 |
3/4 |
27 | |
|
25 |
1 |
47.5 |
1 |
33.5 |
蘇公網安(an)備 32010202011315号
·
•
•
•