黃銅立式止回閥(fa)
産品型号:H12X-16T
公稱壓(ya)力:1.0MPa
工作溫度:-20℃≤t≤150℃
管(guǎn)螺紋标準:符合ISO228标(biāo)準
産品型号:H12X-16T
公稱壓(ya)力:1.0MPa
工作溫度:-20℃≤t≤150℃
管(guǎn)螺紋标準:符合ISO228标(biāo)準
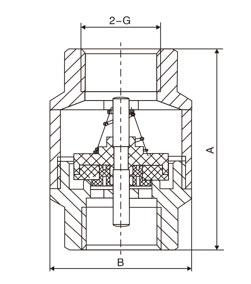
主要外形尺寸
|
DN(mm) |
NPS(in) |
B |
G |
SW | |
|
3/8 |
30 |
3/8 |
- | ||
|
49 |
32 |
1/2 |
26.5 | ||
|
20 |
3/4 |
53 |
3/4 |
30 | |
|
25 |
1 |
59 |
45 |
1 |
38 |
蘇公(gong)網安備 32010202011315号